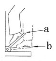
常闭式制动器制动踏板广泛使用在站驾式场车中,下图中,制动踏板在____位置时,制动器起制动作用?

A、a位置

B、b位置

C、a和b位置

答案:A

试题解析

常闭式制动器制动踏板踩下时,制动器才释放,场车才可运行。松开时,起制动作用。所以在a位置时处于松开状态,制动器起作用,在b位置时处于踩下状态,制动器释放,场车运行。

相关试题

1、起升油缸的进油口装有________。

A、安全阀

B、溢流阀

C、限速阀

2、干燥的沥青或混凝土路面的附着系数比干燥的土路附着系数值________。

A、大

B、小

C、无变化

3、特种设备使用单位,须在设备检验有效期届满前一个月向检验机构提出申请。

A、对

B、错

4、新增场(厂)内专用机动车辆,特种设备安全监察机构可以指定所在地的监督检验机构,了解申请注册登记车辆的情况,并根据实际情况确定是否进行验收检验。

A、对

B、错

5、叉车拆垛时,司机应将叉车慢慢驶近货堆,当货叉叉尖离货堆约300mm,并确保货叉升起时接触不到货堆时停下。

A、对

B、错

下载app

小程序